导航条
首页 您的位置:您的位置:首页机械传动制动器|离合器电磁制动器 → DZS2系列电磁失电制动器
分栏标签 
产品名称: DZS2系列电磁失电制动器
型号规格: DZS2系列电磁失电制动器
  放大图片 放大图片
产品类别: 常规产品 -- 机械传动 -- 电磁制动器
分栏标签 
参考价格: 厂价直销
产品品牌: 国产
产品产地: 上海
分栏标签 
可供数量: 批量
供货周期: 现货(或电询)
标签
产品询价 在线交流
13371811002
邮件 91way@163.com
更多分享

分栏标签 
产品简介:
(点击小图查看大图)
DZS2系列电磁失电制动器产品详细说明:
一、概况:

DZS2系列电磁失电制动器为通电脱离(释放),断电弹簧制动的摩擦式制动器(以下简称制动器)。它主要与Y系列电动机配套成YEJ系列电磁制动三相异步电动机。广泛用于冶金、建筑、化工、食品、机床、包装等机械,及在断电时安全(防险)制动等场合,实现快速停车和准确定位。
这种制动器具有结构紧凑、安装方便(安装时无需调整气膝)、适应性广、噪音低、工作频次高、动作灵敏、制动可靠等优点,可附加手动释放装置,是一种理想的自动化控制执行元件。

DZS2系列电磁失电制动器在下列条件下能可靠地工作:
1、海拔高度不超过1000M;空气相对湿度不大于90%,环境温度+40℃~-15℃。
2、周围介质中,无足以腐蚀金属和破坏绝缘的气体及尘埃。
3、制动器采用B级绝缘,电压波动不超过+5%~-15%的额定电压,其工作方式为连续工作制。
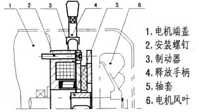
制动器由磁轭、励磁线圈、弹簧、制动盘、衔铁、轴套、手动释放装置等零部件组成。当制动器线圈通电时,线圈产生磁场使衔铁吸向磁轭,衔铁与制动盘脱离(释放);当线圈断电时,磁通消失,衔铁被释放,弹簧实压于衔铁,将制动盘上的摩擦片压紧,从而产生摩擦力矩达到制动的目的。

二、技术参数

规格Specifications
 数据Contents
名称Item names

05
08
15
20
30
40
60
80
配套YEJ电机 4极(KV)
YEJ Motors Model Nimbers
0.12~0.37
0.55~0.75
1.1~ 1.5
2.2
3.0
4.0
5.5
7.5
额定力矩(N.m)
Rated Braking Torque
5
8
15
20
30
40
60
80
额定功率P20℃(W)
Rated Power
25
30
30
50
50
80
80
80
接通时间(ms)
Connecting Time T1
70
70
70
70
70
80
80
80
断开时间(ms)
Disconnecting Time T2
40
40
40
40
40
40
50
50
工作正常气隙(mm)
Working Air Crach δ
0.4
0.4
0.4
0.5
0.5
0.5
0.5
0.5
最大工作气隙(mm)
Maximum Working Air Crach δ
0.8
0.8
0.8
0.8
0.8
0.8
0.8
0.8
励磁电压DC(V)
96
170
允许最高工作转速(rpm)
Allowable Max Speed
3000


注:1、使用6极电机时加大规格使用。
2、断开时间为快速制动时间。
3、可为用户设计各种直流电压及其它绝缘等级的制动器。

三、外形及安装尺寸: 

DZS2系列电磁失电制动器安装尺寸

 尺寸
型号
d
D1
D2
D3
D4
D5
M
b
h
L1
L2
L3
L4
L5
L6
B1
H1
H2
δ
β
DZS2-05
14
45
85
102
35
10
3-M5
5
16.3
19.5
22
18
25
44.4
51
26
64
120
0.4
12
DZS2-08
18
55
110
127
40
10
3-M6
6
20.8
15.5
25
24
25
44.4
51
32
82
140
0.4
12
DZS2-15
20
55
110
127
40
10
3-M6
6
22.8
15.5
25
24
25
44.4
51
32
82
140
0.4
12
DZS2-20
24
65
130
150
49
10
3-M6
8
27.3
26
25
31.5
32
50.5
57
41
92
168
0.5
12
DZS2-30
24
65
130
150
49
10
3-M6
8
27.3
26
25
31.5
32
50.5
57
41
92
168
0.5
12
DZS2-40
28
85
150
166
64
12
4-M8
8
31.3
18.5
35
35.5
34
52.5
61
55
102
225
0.5
12
DZS2-60
37
85
150
166
64
12
4-M8
10
40.3
18.5
35
35.5
34
52.5
61
55
102
225
0.5
12
DZS2-80
37
85
150
166
64
12
4-M8
10
40.3
18.5
35
35.5
34
52.5
61
55
102
225
0.5
12


注:DZS2-40、60、80安装孔均部(45°、135°、225°、315°)

使用说明:
DZS2系列电磁失电制动器属干式,必须在无油状态下工作,以免影响力矩;制动器在安装时,直接通过安装螺钉将制动器固定在电机后端盖或设备的固定板上,无需调整工作气隙;当气隙δ超过最大工作气隙时,应通过调整气隙垫片将气隙重新调整到规定值。该制动器安装方式为轴向水平。 

DZS2系列电磁失电制动器安装示意图

DZS2系列电磁失电制动器

DZS2系列电磁失电制动器
产品分类
本网站所有产品资料均来源于各有关生产厂商,我们不保证资料的完整性及正确性,如需更详细资料,请直接联系厂商