| 产品名称: | VB系列振动电机 | |||||
| 型号规格: | ![]() |
|||||
| 产品类别: | 常规产品 -- 电机产品 -- 振动电机 | |||||
| 参考价格: | 厂价直销 | |||||
| 产品品牌: | 荣达 | |||||
| 产品产地: | 上海 | |||||
| 可供数量: | 批量 | |||||
| 供货周期: | 现货(或电询) | |||||
|
||||||
| 产品简介: |
|
|||||
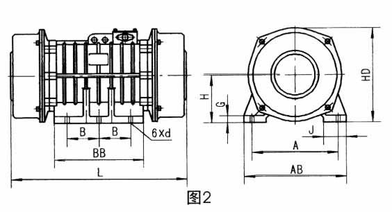
| Vb系列振动电机技术参数 | ||||||||||||||||
| 型号 | 最大 激振力 (N) |
转速 (Rpm) |
额定 功率 (Kw) |
额定 电流 (A) |
安装尺寸(mm) | 外形尺寸(mm) | 安装 螺栓 尺寸 |
外形图 | ||||||||
| A | B | J | AB | BB | L | G | H | HD | d | |||||||
| VB-314-W | 2500 | 1400 | 0.12 | 0.57 | 160 | 100 | 40 | 190 | 150 | 275 | 12 | 92 | 210 | 14 | M12 | 图1 |
| VB-534-W | 5000 | 1400 | 0.25 | 1.02 | 180 | 110 | 50 | 220 | 140 | 290 | 15 | 112 | 243 | 14 | M12 | 图1 |
| VB-634-W | 6000 | 1450 | 0.3 | 0.93 | 200 | 110 | 60 | 250 | 160 | 330 | 16 | 112 | 243 | 18 | M16 | 图1 |
| VB-1054-W | 10000 | 1420 | 0.5 | 1.51 | 220 | 110 | 60 | 270 | 160 | 355 | 18 | 123 | 262 | 22 | M20 | 图1 |
| VB-1264-W | 12000 | 1440 | 0.6 | 1.82 | 220 | 145 | 60 | 270 | 195 | 415 | 18 | 123 | 258 | 22 | M20 | 图1 |
| VB-1584-W | 15000 | 1430 | 0.75 | 1.94 | 220 | 145 | 60 | 270 | 195 | 435 | 18 | 123 | 258 | 22 | M20 | 图1 |
| VB-16144-W | 16000 | 1440 | 1.4 | 3.41 | 290 | 280 | 78 | 340 | 340 | 500 | 52 | 145 | 295 | 27 | M24 | 图1 |
| VB-20114-W | 20000 | 1430 | 1.1 | 2.75 | 220 | 160 | 60 | 270 | 220 | 495 | 22 | 140 | 282 | 26 | M24 | 图1 |
| VB-21164-W | 21000 | 1440 | 1.6 | 3.82 | 290 | 280 | 78 | 340 | 340 | 500 | 52 | 145 | 295 | 27 | M24 | 图1 |
| VB-32154-W | 31500 | 1450 | 1.5 | 3.76 | 260 | 180 | 70 | 320 | 240 | 545 | 25 | 160 | 320 | 26 | M24 | 图1 |
| VB-50234-W | 50000 | 1450 | 2.25 | 5.55 | 350 | 220 | 100 | 430 | 370 | 650 | 33 | 192 | 390 | 39 | M36 | 图1 |
| VB-75304-W | 75000 | 1460 | 3 | 7.36 | 380 | 125 | 105 | 460 | 330 | 615 | 35 | 210 | 412 | 39 | M36 | 图2 |
| VB-100754-W | 100000 | 1460 | 7.5 | 15.92 | 440 | 140 | 125 | 530 | 450 | 795 | 36 | 240 | 470 | 45 | M42 | 图2 |
| VB-84554-W | 84000 | 1455 | 5.5 | 11.5 | 380 | 125 | 140 | 460 | 390 | 720 | 35 | 210 | 415 | 39 | M36 | 图2 |
| VB-50308-W | 50000 | 725 | 3 | 8.05 | 380 | 125 | 105 | 460 | 330 | 780 | 35 | 210 | 412 | 39 | M36 | 图2 |
| VB-75558-W | 75000 | 735 | 5.5 | 15.14 | 440 | 140 | 125 | 530 | 450 | 985 | 36 | 240 | 470 | 45 | M42 | 图2 |
| VB-100758-W | 100000 | 734 | 7.5 | 17.8 | 480 | 140 | 125 | 570 | 510 | 985 | 38 | 265 | 520 | 45 | M42 | 图3 |
| VB-135908-W | 135000 | 734 | 9 | 21.2 | 480 | 140 | 125 | 570 | 510 | 998 | 38 | 265 | 520 | 45 | M42 | 图3 |
| VB-1601108-W | 160000 | 739 | 11 | 25.8 | 520 | 140 | 125 | 610 | 510 | 1070 | 38 | 290 | 570 | 45 | M42 | 图3 |
| VB-2001508-W | 200000 | 743 | 15 | 34.9 | 520 | 140 | 125 | 610 | 510 | 1115 | 38 | 305 | 610 | 45 | M42 | 图3 |
| VB系列振动电机技术参数 | ||||||||||||||||
| 型号 | 最大 激振力 (N) |
转速 (Rpm) |
额定 功率 (Kw) |
额定 电流 (A) |
安装尺寸(mm) | 外形尺寸(mm) | 安装 螺栓 尺寸 |
外形图 | ||||||||
| A | B | J | AB | BB | L | G | H | HD | d | |||||||
| VB-322-W | 3000 | 2600 | 0.2 | 0.55 | 160 | 90 | 50 | 190 | 130 | 280 | 14 | 70 | 180 | 14 | M12 | 图1 |
| VB-552-W | 5000 | 2875 | 0.5 | 1.39 | 170 | 120 | 55 | 220 | 170 | 320 | 16 | 85 | 202 | 18 | M16 | 图1 |
| VB-10102-W | 10000 | 2880 | 1 | 2.35 | 200 | 140 | 60 | 250 | 220 | 445 | 18 | 105 | 240 | 22 | M20 | 图1 |
| VB-20182-W | 20000 | 2850 | 1.8 | 4.13 | 260 | 200 | 70 | 320 | 290 | 520 | 22 | 140 | 300 | 26 | M24 | 图1 |
| VB-40302-W | 40000 | 2870 | 3 | 6.2 | 350 | 220 | 100 | 430 | 320 | 560 | 33 | 185 | 355 | 39 | M36 | 图1 |
| VB-326-W | 3000 | 950 | 0.25 | 0.89 | 140 | 100 | 40 | 170 | 130 | 300 | 12 | 92 | 210 | 13 | M12 | 图1 |
| VB-546-W | 5000 | 955 | 0.38 | 1.32 | 180 | 110 | 45 | 220 | 144 | 300 | 16 | 130 | 265 | 13 | M12 | 图1 |
| VB-1076-W | 10000 | 960 | 0.7 | 2.14 | 220 | 160 | 60 | 270 | 220 | 475 | 22 | 140 | 282 | 26 | M24 | 图1 |
| VB-15116-W | 15000 | 960 | 1.1 | 3.12 | 220 | 160 | 60 | 270 | 220 | 550 | 22 | 140 | 290 | 26 | M24 | 图1 |
| VB-20156-W | 20000 | 965 | 1.52 | 3.99 | 260 | 180 | 70 | 320 | 240 | 565 | 25 | 160 | 320 | 26 | M24 | 图1 |
| VB-32246-W | 31500 | 965 | 2.4 | 5.99 | 350 | 220 | 100 | 430 | 370 | 650 | 33 | 192 | 390 | 39 | M36 | 图1 |
| VB-40306-W | 40000 | 975 | 3 | 7.41 | 350 | 220 | 100 | 430 | 370 | 720 | 33 | 192 | 390 | 39 | M36 | 图1 |
| VB-50326-W | 50000 | 970 | 3.2 | 7.83 | 350 | 250 | 100 | 430 | 370 | 730 | 33 | 192 | 390 | 39 | M36 | 图1 |
| VB-60376-W | 60000 | 975 | 3.7 | 9.02 | 350 | 220 | 100 | 430 | 370 | 730 | 33 | 192 | 390 | 39 | M36 | 图1 |
| VB-75556-W | 75000 | 970 | 5.5 | 12.6 | 380 | 125 | 105 | 480 | 385 | 755 | 35 | 240 | 467 | 39 | M36 | 图2 |
| VB-100756-W | 100000 | 980 | 7.5 | 17.12 | 440 | 140 | 125 | 530 | 450 | 865 | 36 | 240 | 470 | 45 | M42 | 图2 |
| VB-135906-W | 135000 | 980 | 9 | 19.2 | 480 | 140 | 125 | 570 | 510 | 985 | 38 | 265 | 520 | 45 | M42 | 图3 |
| VB-1601106-W | 160000 | 980 | 11 | 23.5 | 480 | 140 | 125 | 570 | 510 | 998 | 38 | 265 | 520 | 45 | M42 | 图3 |
| VB-1801306-W | 180000 | 986 | 13 | 27.8 | 520 | 140 | 125 | 610 | 510 | 970 | 38 | 290 | 570 | 45 | M42 | 图3 |