| 产品名称: | 131,132系列外齿式三排滚柱式回转支承转盘轴承 | |||||
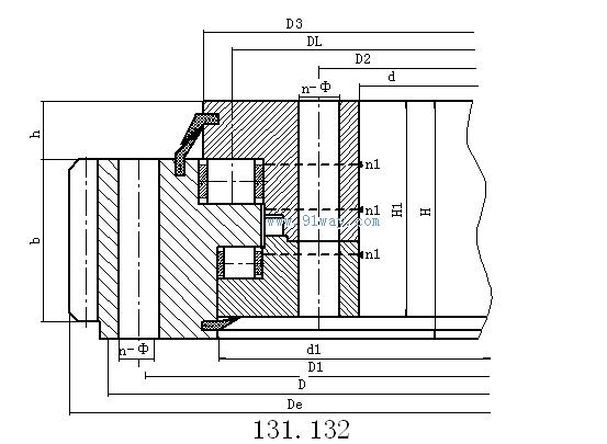
| 型号规格: | ![]() |
|||||
| 产品类别: | 常规产品 -- 机械传动 -- 转盘轴承 | |||||
| 参考价格: | 厂价直销 | |||||
| 产品品牌: | 国产 | |||||
| 产品产地: | 上海 | |||||
| 可供数量: | 批量 | |||||
| 供货周期: | 现货(或电询) | |||||
|
||||||
| 产品简介: |
|
|||||
|
序 |
外齿式 |
外型尺寸 |
安装尺寸 |
结构尺寸 |
齿轮参数 |
外齿参数 |
齿轮圆周力 |
参考 | |||||||||||||
|
D |
d |
H |
D 1 |
D 2 |
n |
Ø |
dm |
L |
n 1 |
H 1 |
h |
b |
x |
m |
D e |
z |
正火Z 104N |
调质T 104N | |||
|
1 |
131.25.500 |
634 |
366 |
148 |
598 |
402 |
24 |
18 |
M16 |
32 |
4 |
10 |
32 |
80 |
0.5 |
5 |
664 |
130 |
5.0 |
6.7 |
224 |
|
132.25.500 |
6 |
664.8 |
108 | ||||||||||||||||||
|
2 |
131.25.560 |
694 |
426 |
148 |
658 |
462 |
24 |
18 |
M16 |
32 |
4 |
10 |
32 |
80 |
0.5 |
5 |
724 |
142 |
5.0 |
6.7 |
240 |
|
132.25.560 |
6 |
724.8 |
118 | ||||||||||||||||||
|
3 |
131.25.630 |
764 |
496 |
148 |
728 |
532 |
28 |
18 |
M16 |
32 |
4 |
10 |
32 |
80 |
0.5 |
6 |
808.8 |
132 |
6.0 |
8 |
270 |
|
132.25.630 |
8 |
806.4 |
98 | ||||||||||||||||||
|
4 |
131.25.710 |
844 |
576 |
148 |
808 |
612 |
28 |
18 |
M16 |
32 |
4 |
10 |
32 |
80 |
0.5 |
6 |
886.8 |
145 |
6.0 |
8 |
300 |
|
132.25.710 |
8 |
886.4 |
108 | ||||||||||||||||||
|
5 |
131.32.800 |
964 |
636 |
182 |
920 |
680 |
36 |
22 |
M20 |
40 |
4 |
10 |
40 |
120 |
0.5 |
8 |
1006.4 |
123 |
12.1 |
16.7 |
500 |
|
132.32.800 |
10 |
1008 |
98 | ||||||||||||||||||
|
6 |
131.32.900 |
1064 |
736 |
182 |
1020 |
780 |
36 |
22 |
M20 |
40 |
4 |
10 |
40 |
120 |
0.5 |
8 |
1102.4 |
135 |
12.1 |
16.7 |
600 |
|
132.32.900 |
10 |
1108 |
108 | ||||||||||||||||||
|
7 |
131.32.1000 |
1164 |
836 |
182 |
1120 |
880 |
40 |
22 |
M20 |
40 |
5 |
10 |
40 |
120 |
0.5 |
10 |
1218 |
119 |
15.1 |
20.9 |
680 |
|
132.32.1000 |
12 |
1221.6 |
99 | ||||||||||||||||||
|
8 |
131.32.1120 |
1284 |
956 |
182 |
1240 |
1000 |
40 |
22 |
M20 |
40 |
5 |
10 |
40 |
120 |
0.5 |
10 |
1338 |
131 |
15.1 |
20.9 |
820 |
|
132.32.1120 |
12 |
1341.6 |
109 | ||||||||||||||||||
|
9 |
131.40.1250 |
1445 |
1055 |
220 |
1393 |
1107 |
45 |
26 |
M24 |
48 |
5 |
10 |
50 |
150 |
0.5 |
12 |
1509.6 |
123 |
22.9 |
31.4 |
1200 |
|
132.40.1250 |
14 |
1509.2 |
105 | ||||||||||||||||||
|
10 |
131.40.1400 |
1595 |
1205 |
220 |
1543 |
1257 |
45 |
26 |
M24 |
48 |
5 |
10 |
50 |
150 |
0.5 |
12 |
1665.6 |
136 |
22.9 |
31.4 |
1300 |
|
132.40.1400 |
14 |
1663.2 |
116 | ||||||||||||||||||
|
11 |
131.40.1600 |
1795 |
1405 |
220 |
1743 |
1457 |
48 |
26 |
M24 |
48 |
6 |
10 |
50 |
150 |
0.5 |
14 |
1873.2 |
131 |
26.3 |
36.6 |
1520 |
|
132.40.1600 |
16 |
1868.8 |
114 | ||||||||||||||||||
|
12 |
131.40.1800 |
1995 |
1605 |
220 |
1943 |
1657 |
48 |
26 |
M24 |
48 |
6 |
10 |
50 |
150 |
0.5 |
14 |
2069.2 |
145 |
26.3 |
36.6 |
1750 |
|
132.40.1800 |
16 |
2076.8 |
127 | ||||||||||||||||||
|
13 |
131.45.2000 |
2221 |
1779 |
231 |
2155 |
1845 |
60 |
33 |
M30 |
60 |
6 |
12 |
54 |
160 |
0.5 |
16 |
2300.8 |
141 |
32.2 |
44.5 |
2400 |
|
132.45.2000 |
18 |
2300.4 |
125 | ||||||||||||||||||
|
14 |
131.45.2240 |
2461 |
2019 |
231 |
2395 |
2085 |
60 |
33 |
M30 |
60 |
6 |
12 |
54 |
160 |
0.5 |
16 |
2556.8 |
157 |
32.2 |
44.5 |
2700 |
|
132.45.2240 |
18 |
2552.4 |
139 | ||||||||||||||||||
|
15 |
131.45.2500 |
2721 |
2279 |
231 |
2655 |
2345 |
72 |
33 |
M30 |
60 |
8 |
12 |
54 |
160 |
0.5 |
18 |
2822.4 |
154 |
36.2 |
50.1 |
3000 |
|
132.45.2500 |
20 |
2816 |
138 | ||||||||||||||||||
|
16 |
131.45.2800 |
3021 |
2579 |
231 |
2955 |
2645 |
72 |
33 |
M30 |
60 |
8 |
12 |
54 |
160 |
0.5 |
18 |
3110.4 |
170 |
36.2 |
50.1 |
3400 |
|
132.45.2800 |
20 |
3116 |
153 | ||||||||||||||||||
|
17 |
131.50.3150 |
3432 |
2868 |
270 |
3342 |
2958 |
72 |
45 |
M42 |
84 |
8 |
12 |
65 |
180 |
0.5 |
20 |
3536 |
174 |
45.2 |
62.6 |
5000 |
|
132.50.3150 |
22 |
3537.6 |
158 | ||||||||||||||||||
注:
1、n1为润滑油孔数,均布:油杯M10×1 JB/T7940.1-JB/ T7940.2
2、安装孔n-dn1、n-dn2可改用螺孔;齿宽b可改为H-h。
3、表内齿轮圆周力为最大圆周力,额定圆周力取其1/2。
4、内齿修顶系数为0.2。